LETOU乐投

LETOU乐投

土壤生态修复的新鲜动态

土壤筛分的前景

2018-01-17 01:39:31 227 编辑:admin 来源:本站
        现代社会,在发展工业的同时如果不注意对环境的保护就会造成环境的污染。人 类赖以生存的土壤、水环境、空气都会受到影响。所以,人们对环境保护越来越关注,环保产 业的内容也越来越广泛。 
 
        目前在对重金属污染的土壤的治理中,向被污染的土壤中添加液态或固态药剂阻 止污染的扩大、积极改善土壤是众多治理方式中的一种。而要达到对土壤较好的治理效果, 需要将土壤打碎后再添加液态或固态药剂,这就需要借助机械装置的力量完成土壤高速破 碎、自动加药、混合搅拌等工作。目前,我国国内在这方面的技术还处于探索阶段,现成的装 备还非常缺乏。
   
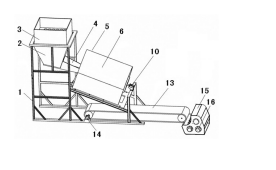
         为了解决上述问题,我们提供一种土壤筛分及破碎装置,它采用振动筛、 筛分筒、输送带和旋切与滚锤装置等机械结构,能完成对土壤的高速破碎、筛分、自动加药、 混合搅拌等工作,能积极有效地向被污染的土壤中添加液态或固态药剂,是治理重金属污 染土壤的一种比较有效的机械破碎设备,且在制造上容易实现,操作方便。
   

30

装备制造经验

立即免费获取土壤修复方案

为用户提供及时、高效、便捷的服务

在线咨询
LETOU乐投环境希望与你携手,共创美好未来...
5