LETOU乐投

公司动态

了解最新公司动态及行业资讯

土壤农药热脱附修复装置

2017-10-16 02:39:11 366 编辑:admin 来源:本站
  热脱附修复技术是经过直接加热或间接加热,将污染土壤加热到足够的温度,使其所含的有机污染物得以挥发或分离的过程。热脱附是将污染物从一相转化为另一相的物理分离过程,通过控制热脱附系统的温度和物料停留时间可以有选择性的使目标污染物挥发。目前常见的热脱附设备过于简陋,土壤中的农药脱附效果差。
  本发明为了克服现有技术中的土壤热脱附设备脱附效果差的不足,提供了一种能将土壤破碎、搅拌、加热,极大消除土壤中残留农药、土壤修复效率高的土壤农药热脱附修复装置。
  1、为了实现上述目的,本发明采用如下技术方案:
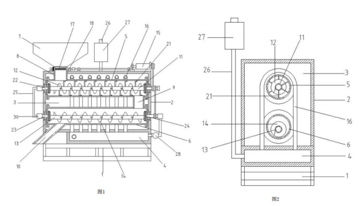
  一种土壤农药热脱附装置,包括机架、设在机架上的机箱,所述的机箱内设有加热腔,机箱底部设有燃烧室,所述的机箱内设有水平分布的上进料筒、下进料筒,所述机箱顶部设有进料斗,所述进料斗的下端通过进料通道与上进料筒的左端连通,所述上进料筒的右端通过连接通道与下进料筒的右端连通,所述下进料筒的左端设有出料通道,所述上进料筒内设有上转轴,上转轴上设有上螺旋带,所述的下进料筒内设有下转轴,所述的下转轴上设有下螺旋带,所述上转轴、下转轴的端部之间通过同步带连接,所述机架顶部设有用于驱动上转轴转动的电机,所述上螺旋带、下螺旋带的旋向相反。含有残留农药的土壤从进料斗进入上转筒内,在上螺旋带的作用下移动并从连接通道进入下转动内,燃烧室燃烧为加热腔加热,加热腔对上转筒、下转筒加热,从而对上转筒、下转筒内的土壤进行加热,土壤加热到300℃-500℃左右时,土壤内的农药、苯、甲苯、二甲苯、乙苯及TPH等有机污染物就会挥发出与土壤分离、排掉,而脱附后的土壤则从出料通道处排出,出料通道排出的土壤冷却后就能倒入园林、果园内使用。
  作为优选,所述的加热腔内位于上转筒、下转筒的外侧设有若干导热管,所述的导热管呈U形,所述导热管的两端与燃烧室连通。燃烧室内的热量直接通过导热管散发出去,减少热传递路径,提高上转筒、下转筒对土壤的加热效率,土壤中的有机污染物分离更加快速。
  作为优选,所述的上转轴与上转筒同轴,所述的上转轴上设有若干与轴向垂直固定的刀片;所述的下转轴的轴线与旋转轴线偏心。刀片能把大块的土壤破碎,从而便于加热脱附,同时上转筒对土壤加热时,刀片更加容易被加热,上转轴转动的时候,刀片能把热量传递给土壤从而对土壤进行快速加热;下转轴偏心转动,对土壤具有径向的翻搅效果,使得土壤在下转筒内移动时更加分散,便于土壤中有机污染物受热挥发。
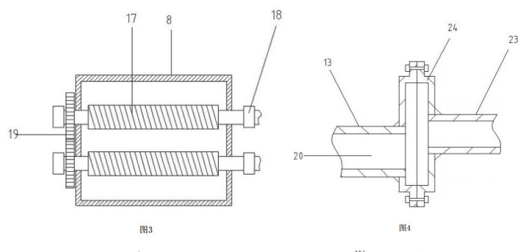
  作为优选,所述的进料通道内设有两根平行的螺杆,所述机箱顶部设有和螺杆两端连接的转动座,两根螺杆的端部之间通过齿轮连接,所述的电机为双头电机,电机的一个轴端与上转轴连接,电机的另一个轴端通过连杆、联轴器与螺杆连接。有机污染物含量高的土壤通常会板结,螺杆转动,能破碎板结的土壤,把大块的土壤分解成小块的土壤,从而便于土壤快速受热,利于有机污染物受热挥发。
  作为优选,所述的上轴转、下转轴内均设有贯穿两端的中心通孔,所述上转轴的两端均设有上连接管,所述下转轴的两端均设有下连接管,所述上连接管、下连接管的外端均伸出机箱外,所述的上转轴与上连接管同轴连通,所述的下转轴与下连接管之间通过转接座偏心连通,其中一个上连接管的外端封闭,另一个上连接管通过气管与其中一个下连接管连通,另一个下连接管通过气管与燃烧室的一端连通,所述燃烧室的另一端侧面设有尾气管,所述下连接管与燃烧室之间的气管上设有排风机,所述上转轴、下转轴的侧面设有若干与中心通孔连通的吸气孔。排风机启动,上轴转、下转轴内的中心通孔呈负压状态,从土壤中挥发出来的毒害气体被吸气孔吸入后排入燃烧室内燃烧,燃烧后的尾气从尾气管处排掉,吸气孔的设置极大的缩短了气体的排放路径,使得上转筒、下转筒内的污染气体的浓度降低,从而便于土壤中的有机污染物受热挥发。
  作为优选,所述尾气管的上端设有尾气吸收过滤器。尾气吸收过滤器能吸收燃烧后残留的污染物,减少尾气对空气的污染。
  作为优选,气管与上连接管之间、气管与下连接管之间均设有旋转接头。
  作为优选,所述的上转轴、下转轴的外壁上设有若干弧形槽,所述的吸气孔位于弧形槽的底面一端,所述弧形槽的底面设有下滤网,所述弧形槽的开口端设有上滤网,所述上滤网、下滤网之间的部位填充有过滤填料,所述上滤网的外侧设有盖板,所述盖板在其与吸气孔的相对端向外拱起形成弧形挡板,所述弧形挡板的两端与上滤网之间形成进气间隙。上滤网、下滤网把过滤填料封存在弧形槽内,能防止土壤颗粒堵塞吸气孔,同时吸气孔与进气间弧形挡板遮挡上滤网的进气部位,防止土壤直接压在上滤网上而堵塞网孔。
  2、因此,本发明具有能将土壤破碎、搅拌、加热,极大消除土壤中残留农药、土壤修复效率高的有益效果。
  3、附图说明
土壤农药热脱附修复装置的一种结构示意图土壤农药热脱附修复装置的一种结构示意图土壤农药热脱附修复装置的一种结构示意图
  图1为土壤农药热脱附修复装置的一种结构示意图。
  图2为土壤农药热脱附修复装置的侧剖图。
  图3为进料通道的俯视图。
  图4为下转轴与下连接管的连接示意图。
  图5为上转轴、下转轴的截面图。
  图6为图5中A处放大示意图。
  图中:机架1、机箱2、加热腔3、燃烧室4、上进料筒5、下进料筒6、进料斗7、进料通道8、连接通道9、出料通道10、上转轴11、上螺旋带12、下转轴13、下螺旋带14、电机15、导热管16、螺杆17、转动座18、齿轮19、中心通孔20、刀片21、上连接管22、下连接管23、转接座24、气管25、尾气管26、尾气吸收过滤器27、排风机28、吸气孔29、旋转接头30、弧形槽100、下滤网101、上滤网102、过滤填料103、盖板104、弧形挡板105、进气间隙106。

30

装备制造经验

立即免费获取土壤修复方案

为用户提供及时、高效、便捷的服务

在线咨询
LETOU乐投环境希望与你携手,共创美好未来...
5