土壤修复是指利用物理、化学和生物的方法转移、吸收、降解和转化土壤中的污染 物,使其浓度降低到可接受水平,或将有毒有害的污染物转化为无害的物质,使遭受污染的 土壤恢复正常功能的技术措施,在土壤修复行业,已有的土壤修复技术达到一百多种,常用 技术也有十多种,大致可分为物理、化学和生物三种方法。
目前我国土壤修复技术长期停留在实验室水平,较缺乏经济有效的土壤修复产品 及相关经验,同时现有的技术设备,一般结构比较复杂,使用时过于繁琐,土壤修复的效果 比较一般,对于有害物的处理不够彻底。

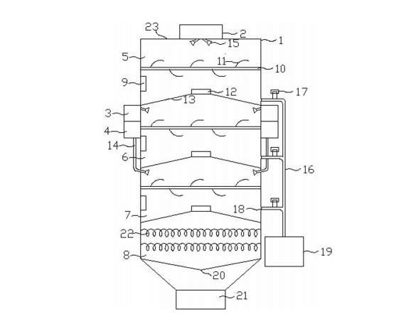
土壤修复的化学土壤淋洗罐,包括罐体、及设置在所述罐体顶端的水箱和出料口,所述罐体的顶部设置有进料口;该种用于土壤修复的化学土壤淋洗罐,整个过程简单,清理彻底;同时设置了热分解室,通过热解吸修复技术,以加热方式将受有机物污染的土壤加热至有机物沸点以上,使吸附土壤中的有机物挥发成气态后再进行彻底的分离处理;最后在罐体的外侧连接了废水管和废水箱,实现对有害废弃液体的妥善处理;整个装置结构简单,使用方便,有效的填补了土壤修复技术的设备空缺,并提供了一种高效率的土壤修复设备,有效的保证的土壤修复的效果,对环保做出重要贡献。
郑州市长椿路11号国家大学科技园孵化1号楼513
电话:0371-61772378
邮箱:desenhuanjing@163.com
微信公众号
LETOU乐投环境抖音号 30年
装备制造经验
为用户提供及时、高效、便捷的服务