LETOU乐投

行业动态

了解最新公司动态及行业资讯

污染场地修复中的异位土壤修复设备的重要性

2018-07-13 01:17:56 314 编辑:admin 来源:本站
      目前,土壤不但为植物生长提供机械支撑能力,并能为植物生长发育提供所需要的水,肥,气,热等肥力要素。随着生活的水平提高,土壤受到了各种污染,而不同的污染源需要不同的原料和设备来进行处理。在污染场地修复中土壤修复设备也是多种多样,而我们LETOU乐投环境科技有限公司有一种在污染场地修复中用到的异位土壤修复设备。
异位土壤修复
 
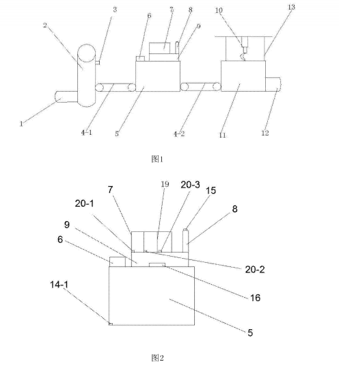
     污染场地修复中的异位土壤修复设备,包括依次连接的进料口,离心装置,第一输送装置,第一修复装置,第二输送装置,第二修复装置,出料口;处理箱设置有内部设置有至少两个处理剂放置区,处理剂放置区通过隔板隔开,每个处理剂放置区靠近出液口的一侧设置有投料口。通过设置第一修复装置和第二修复装置,可以实现复合处理污染土壤,同时将处理剂投料箱进行改进,实现灵活投料,避免了使用不同的设备来实现不同处理剂的投放,降低了设备的成本。

30

装备制造经验

立即免费获取土壤修复方案

为用户提供及时、高效、便捷的服务

在线咨询
LETOU乐投环境希望与你携手,共创美好未来...
5