LETOU乐投

行业动态

了解最新公司动态及行业资讯

土壤淋洗和曝气联用修复设备

2018-06-27 01:21:18 353 编辑:admin 来源:本站
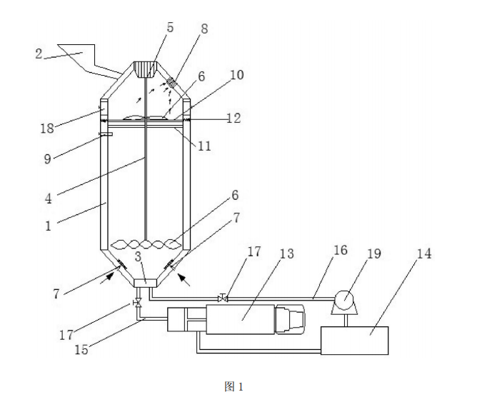
      污染物进入土壤的途径是多样的,废气中含有的污染物质,特别是颗粒物,在重力 作用下沉降到地面进入土壤,废水中携带大量污染物进入土壤,固体废物中的污染物直接 进入土壤或其渗出液进入土壤。其中最主要的是污水灌溉带来的土壤污染。农药、化肥的 大量使用,造成土壤有机质含量下降,土壤板结,也是土壤污染的来源之一。土壤污染除导 致土壤质量下降、农作物产量和品质下降外,更为严重的是土壤对污染物具有富集作用,一 些毒性大的污染物,如汞、镉等富集到作物果实中,人或牲畜食用后发生中毒。如我国辽宁 沈阳张士灌区由于长期引用工业废水灌溉,导致土壤和稻米中重金属镉含量超标,人畜不 能食用。土壤不能再作为耕地,只能改作他用。因此对于受污染土壤的修复十分重要,而目 前采用的修复设备一般都较复杂,成本高,不易移动,且也容易造成二次污染。 曝气是水和空气充分接触以交换气态物质和去除水中挥发性物质的水处理方法, 一般的曝气只是单纯的曝气,工作效率低。 需要解决的技术问题是有机污染土壤,有一种土壤淋洗和曝气联用修复设备,使用该设备修复时搅拌与曝气相结合,能使混合更均匀,提高了修复的效率。 
土壤淋洗和曝气联用修复设备

    有机污染土壤淋洗与曝气联用修复设备,包括反应釜,反应釜顶部设有进料口,反应釜底部设有出料口;所述反应釜内竖直设有搅拌轴,搅拌轴的一端与搅拌电机传动连接,所述搅拌轴上安装有搅拌叶片;所述反应釜底部设有曝气口,反应釜顶部设有抽气口,反应釜的侧壁上设有淋洗液注入口。采用上述结构后,污染土壤在反应釜内,通过搅拌叶片和曝气口,实现了修复时搅拌与曝气相结合,能使混合更均匀。

30

装备制造经验

立即免费获取土壤修复方案

为用户提供及时、高效、便捷的服务

在线咨询
LETOU乐投环境希望与你携手,共创美好未来...
5