LETOU乐投

行业动态

了解最新公司动态及行业资讯

土壤破碎辊的创新过程

2018-05-25 01:19:01 386 编辑:admin 来源:本站
   
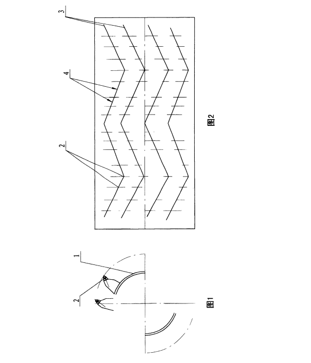
     普通的土壤破碎机使用的破碎辊一般由一个筒体和排布在筒体外圆柱面上的刀头组成,刀头在筒体外圆柱上一般是沿圆周线或螺旋线等距排列,破碎辊在工作过程中,由于土料具有沿刀头排列方向运动的趋势,因此刀头的规则排列方式对土料的扰动较小,影响了对土料的破碎效果。什么设备都要有创新的,有一种新型的土壤破碎辊结构非常的合理。破碎效果好。大大的代替了普通的土壤破碎机的破碎辊。
土壤破碎机破碎辊
        土壤破碎机属于工程机械,具体是一种土壤破碎机破碎辊。它由筒体和排列在筒体外圆柱面上的刀头组成,刀头沿圆周方向排列的轨迹在筒体外圆柱面的展开平面上构成多条折线,所述的各条折线在纵向上并排排列。

30

装备制造经验

立即免费获取土壤修复方案

为用户提供及时、高效、便捷的服务

在线咨询
LETOU乐投环境希望与你携手,共创美好未来...
5